Product Summary
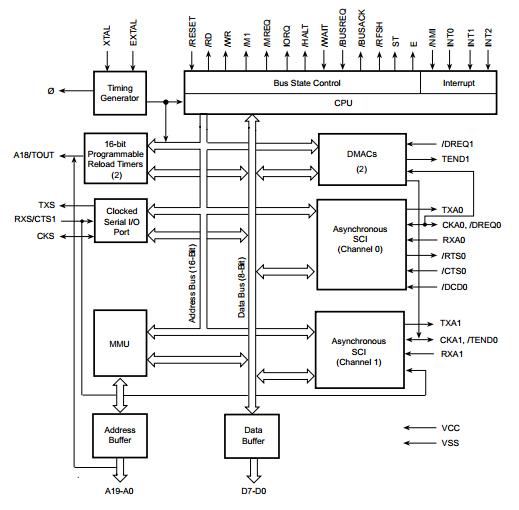
The Z8S18020VSG is an Enhanced Z180 Microprocessor provided full backward compatibility with existing Zilog Z80 devices. The Z8S18020VSG now offers faster execution speeds, power saving modes, and EMI noise reduction. This enhanced Z180 design also incorporates additional feature enhancements to the ASCIs, DMAs, and Icc STANDBY Mode power consumption. With the addition of “ESCC-like” Baud Rate Generators (BRGs), the two ASCIs now have the flexibility and capability to transfer data asyn-chronously at rates of up to 512 Kbps.
Parametrics
Z8S18020VSG absolute maximum ratings: (1)Supply Voltage, Vcc: -0.3 to +7.0 V; (2)Input Voltage, Vin: -0.3 to Vcc +0.3 V; (3)Operating Temperature, Topr: 0 to 70℃; (4)Extended Temperature, Text: -40 to 85℃; (5)Storage Temperature, Tstg: -55 to +150℃.
Features
Z8S18020VSG features: (1)Code Compatible with Zilog Z80 CPU; (2)Extended Instructions; (3)Two Chain-Linked DMA Channels; (4)Low Power-Down Modes; (5)On-Chip Interrupt Controllers; (6)Three On-Chip Wait-State Generators; (7)On-Chip Oscillator/Generator; (8)Expanded MMU Addressing (up to 1 MB); (9)Clocked Serial I/O Port; (10)Two 16-Bit Counter/Timers; (11)Two Enhanced UARTs (up to 512 Kbps); (12)Clock Speeds: 6, 8, 10, 20, 33 MHz; (13)Operating Range: 5V (3.3V@ 20 MHz); (14)Operating Temperature Range: 0 to +70℃; (15)-40 to +85℃ Extended Temperature Range; (16)Three Packaging Styles: 68-Pin PLCC.
Diagrams

| Image | Part No | Mfg | Description | ![]() |
Pricing (USD) |
Quantity | ||||||||||
|---|---|---|---|---|---|---|---|---|---|---|---|---|---|---|---|---|
![]() |
![]() Z8S18020VSG |
![]() ZiLOG |
![]() Microprocessors (MPU) 20MHz STATIC Z180 |
![]() Data Sheet |
![]()
|
|
||||||||||
![]() |
![]() Z8S18020VSG1960 |
![]() ZiLOG |
![]() Microprocessors (MPU) 20MHz STATIC Z180 |
![]() Data Sheet |
![]()
|
|
||||||||||
(China (Mainland))









