Product Summary
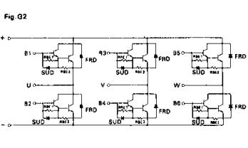
The 6DI120D060 is a Power Transistor Module. The applications of the 6DI120D060 include AC motor controls, Air conditioners.
Parametrics
6DI120D060 absolute maximum ratings: (1)VCBO: 600V; (2)VCEO: 600V; (3)VCEO(SUS): 450V; (4)VEBO: 6V; (5)IC: 100A; (6)ICP: 200A; (7)-IC: 100A; (8)IB: 6A; (9)IBP: 12A; (10)PC: 400W; (11)TJ: +150℃; (12)TSTG: -40 to +125℃; (13)VISO: 2500V.
Features
6DI120D060 features: (1)Including free wheeling diode; (2)High DC current gain; (3)Insulated type.
Diagrams

![]() |
![]() 6DI100A-050 |
![]() Other |
![]() |
![]() Data Sheet |
![]() Negotiable |
|
||||
(China (Mainland))








