Product Summary
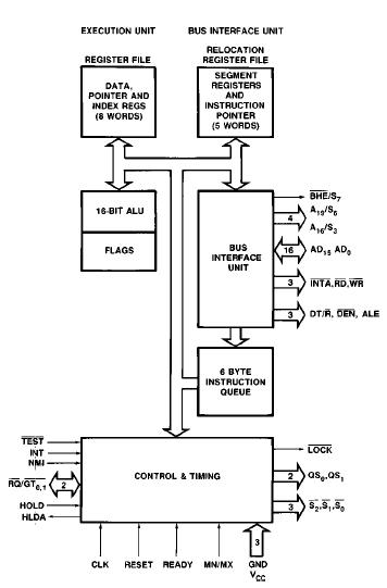
The M80C86A-2 is a high performance, 16-bit CHMOS microprocessor. It is available in 5 and 8 MHz clock rates. The M80C86A-2 offers two modes of operation: MINimum for small systems and MAXimum for larger applications such as multiprocessing. It is available in 40-pin DIP package.
Parametrics
M80C86A-2 absolute maximum ratings: (1)Supply Voltage (With respect to ground): -0.5 to 8.0V; (2)Input Voltage Applied (w.r.t. ground): -2.0 to VCC +0.5V; (3)Output Voltage Applied (w.r.t. ground): -0.5 to VCC +0.5V; (4)Power Dissipation: 1.0W; (5)Storage Temperature: -65℃ to 150℃; (6)Case Temperature Under Bias: -55℃ to +125℃.
Features
M80C86A-2 features: (1)Pin-for-Pin and Functionally Compatible to Industry Standard HMOS M8086; (2)Fully Static Design with Frequency Range from D.C. to: 8 MHz; (3)Low Power Operation, DOperating ICC e 10 mA/MHz; DStandby ICCS e 500 μA max; (4)Bus-Hold Circuitry Eliminates Pull-Up Resistors; (5)Direct Addressing Capability of 1 MByte of Memory; (6)Architecture Designed for Powerful Assembly Language and Efficient High Level Languages; (7)24 Operand Addressing Modes; (8)Byte, Word and Block Operations; (9)8 and 16-Bit Signed and Unsigned Arithmetic, Binary or Decimal; Multiply and Divide; (10)Military Temperature Range: -55℃ to +125℃.
Diagrams

![]() |
![]() M80C107422C |
![]() Harwin |
![]() High Speed / Modular Connectors 3 ROW CONN/W 3 PWR & 12 SIGNAL CONTACTS |
![]() Data Sheet |
![]()
|
|
||||||||||||
![]() |
![]() M80C107830C |
![]() Harwin |
![]() High Speed / Modular Connectors 3 WAY VERT/PLASTIC LATCH |
![]() Data Sheet |
![]()
|
|
||||||||||||
![]() |
![]() M80C107831C |
![]() Harwin |
![]() High Speed / Modular Connectors 4 WAY VERT./PLASTIC LATCH DATAMATE |
![]() Data Sheet |
![]()
|
|
||||||||||||
![]() |
![]() M80C108369C |
![]() Harwin |
![]() Cables (Cable Assemblies) 18" CBL ASBLY MALE 5+5 CRIMP 26 AWG |
![]() Data Sheet |
![]()
|
|
||||||||||||
![]() |
![]() M80C108371C |
![]() Harwin |
![]() Cables (Cable Assemblies) 18" CBL ASBLY FEMALE 2+2 CRIMP 26 AWG |
![]() Data Sheet |
![]()
|
|
||||||||||||
![]() |
![]() M80C108372C |
![]() Harwin |
![]() Cables (Cable Assemblies) 18" CBL ASBLY FEMALE 4+4 CRIMP 26 AWG |
![]() Data Sheet |
![]()
|
|
||||||||||||
(China (Mainland))










